animateMainmenucolor

Газлифт (газлифтный подъемник)



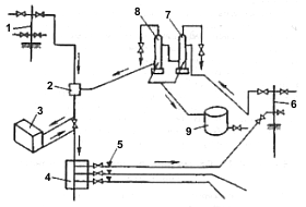
Схема работы бескомпрессорного газлифта

При бескомпрессорном газлифте используют энергию газа большого давления, поступающего из газовых месторождений. Применение бескомпрессорного газлифта рационально при наличии газовых месторождений вблизи нефтяных или при добыче газа высокого давления на самих нефтяных месторождениях.

После подъема жидкости газ имеет значительно меньшее давление, насыщен парами жидкости, поэтому использование его несколько ограничивается. В то же время схема бескомпрессорного газлифта позволяет без больших капиталовложений и без сложных компрессоров и компрессорных станций поднимать из скважин жидкость наиболее простым методом. Поэтому этот метод на некоторых нефтяных месторождениях нашел применение.

На рис. 4.16 показана технологическая схема бескомпрессорного газлифта, применяемая в объединении Краснодарнефтегаз.


Рис. 4.16. Бескомпрессорная газлифтная установка

Газ из скважин 1 под большим давлением (15...20 МПа) поступает на пункт очистки (осушки 2), где он проходит через гидроциклонные сепараторы и конденсатосборники. После пункта очистки газ поступает в беспламенный подогреватель 3 для подогрева до 80...90°С, а затем в газораспределительную батарею 4. Подогрев газа является эффективным средством борьбы с гидратообразованием при транспортировании и редуцировании газа. От батареи газ направляется через регулировочные штуцеры 5 в добывающие нефтяные скважины 6. После подъема жидкости газ поступает в газосепараторы первой 7 и второй 8 ступеней, откуда направляется в топливные линии и на газобензиновый завод. Жидкость из газосепараторов направляют в емкость 9.


термины:
А Б В Г Д Е Ё Ж З И К Л М Н О П Р С Т У Ф Х Ц Ч Ш Щ Э Я






Буровые установки (агрегаты, станки) шпиндельного типа

Глубина бурения, м
100 м
300 м
500 м
800 м
2000 м

Буровые установки с подвижным вращателем

Глубина бурения, м
до 15 м.
до 25-50 м.
до 100 м.
до 300 м.
до500 м.
до1000 м.
до2000 м.

Буровые установки роторного типа для бурения скважин

Глубина бурения, м
до 25-50 м.
до 200 м.
600-800 м.
Глубина бурения 2000-3000 м.

Самоходные буровые установки для бурения скважин

Установка самоходная подъемная Азинмаш-37А1
Установка для устройства буронабивных свай СО-2
Агрегат для заглубления винтовых анкеров АЗА-3
Cамоходный буровой агрегат БА 15.06, 1БА15н.01, 1БА 15к.01
УРБ-3А3.13 самоходные и передвижные буровые установки
БА-63АВ Буровой агрегат на шасси КАМАЗ
БТС-150 станок буровой тракторный
Установка бурильно-крановая гидрофицированная типа УБКГ-ТА

Буровые установки и оборудование для глубокого бурения

Глубина бурения, м
Глубина бурениядо 3200м
Глубина бурения до 4000 м
Глубина бурения до 5000м
Глубина бурения 6000- 8000 м