Схемы гидравлического размыва грунта в процессе бурения
По этому варианту (рис. 6.11) удаление грунта в объеме, равном объему вводимого раствора, осуществляется посредством бокового размыва грунта водяными струями в процессе бурения рабочей скважины. При этом, в отличие от бурения скважин увеличенного диаметра, используется оборудование для струйной геотехнологии, подобное применяемому ныне, в частности, совмещённый с буровой колонной монитор малого диаметра.

Рис. 6.11. Схемы гидравлического размыва грунта в процессе бурения
а - однотрубный монитор; б-двухтрубный монитор; в-двухтрубный монитор с
воздухом; г - трехтрубный монитор; д - монитор с гидроэлеватором; 1 - вода
высокого давления; 2- вода низкого давления
В результате гидравлического размыва образуется расширенная скважина расчетного диаметра. Весь размытый грунт должен быть удален.
По окончании бурения производится струйное закрепление грунта при движении монитора снизу вверх, с вращением. При этом насадки монитора находятся на значительном расстоянии от стенки расширенной скважины, вследствие чего струи раствора, прежде, чем достигают грунта, проходят это расстояние в воде. Это обуславливает применимость только однокомпонентной технологии, так как в случае подачи воздуха он будет всплывать в воде, не достигая грунта. Следовательно, в технологии по данному варианту диаметр грунтобетонных колонн будет не более 0,6...0,7 м.
Монитор должен быть уравновешен взаимно противоположными реактивными силами боковых струй, то есть должен иметь две противоположно расположенных боковых насадки.
Для этого варианта проблематично выполнение наклонных колонн: они могут отклоняться от заданного направления, иметь переменный диаметр.
Размыв грунта до заданного диаметра скважины определяется,
главным образом, энергией струи и режимом ее перемещения, в зависимости от
свойств грунта.
В процессе бурения с гидравлическим размывом часть воды может
уходить в грунт, причем расход фильтрации из скважины будет возрастам, мере ее
углубления. Расход фильтрации учитывается фильтрационным расчетом, а вынос
размытого грунта определяется по формулам расчета гидротранспорта в вертикальных
трубопроводах.
Технологические операции по схеме с самоизливом пульпы можно производить с помощью однотрубного монитора, имеющего две боковых и торцевую насадки. Диаметры боковых насадок подбираются по условиям последующего струйного закрепления грунта, а диаметр торцевой насадки - по условиям обеспечения суммарного расхода воды при гидротранспорте необходимого количества размытого грунта. При работе с этим монитором бурение с гидроразмывом скважины ведут с открытыми насадками, а струйнное закрепление - с закрытой торцевой насадкой.
Диаметр торцевой насадки, в отличие от промывочного отверстия в буровом
долоте, должен обеспечить повышенное давление в мониторе формирования боковых
струй при гидроразмыве скважины. Это приведет к увеличению необходимой
производительности насоса, которая может превысить возможности
используемого оборудования.
Более рациональна по затратам энергии схема с
раздельной подачей на гидроразмыв и на удаление пульпы. Для гидроразмыва к
боковым насадкам вода подается под высоким давлением, а для удаления пульпы -
под низким давлением. Такая схема требует применения двухфубного монитора и
одновременной работы двух насосов с соответствующими характеристиками. Обе
рассмотренные схемы применимы, в основном, в тонкозернистых грунтах.
Для более широкого диапазона грунтов и для сокращения расхода воды могут быть применены схемы с дополнительной подачей воздуха. При этом расход воды может быть сокращен в 2...3 раза, в зависимости от количества и режима подачи воздуха. Однако такая схема может ухудшить условия устойчивости расширенной скважины за счет уменьшения в ней гидростатического давления.
Для широкого диапазона грунтов можно применить технологическую схему с откачкой водогрунтовой пульпы монитором соответствующей конструкции (рис. 6.12).

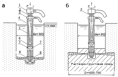
Рис. 6.12. Схема работы монитора с гидроэлеватором
а - бурение с
боковым гидроразрывом, б - струйное закрепление, 1- вертлюг для подачи пульпы, 2
- затвор гидроэлеватора, 3 - вертлюг для подачи воды (раствора), 4 - буровая
труба, 5 - труба гидроэлеватора; 6 - сопло гидроэлеватора; 7 - регуляторы
давления гидроэлеватора; 8 - боковые насадки для гидроразмыва и струйного
закрепления грунта
Монитор двухтрубный, оснащен буровым наконечником и гидроэлеватором. У входа в насадку гидроэлеватора имеется регулятор давления, дающий возможность обеспечить оптимальные параметры работы гидроэлеватора одновременно со струйным размывом. На внутренней трубе установлен затвор, дающий возможность исключить из работы гидроэлеватор.
Бурение и гидроразмыв ведут по схеме обратной промывки с выдачей пульпы гидроэлеватором по внутренней трубе монитора. При струйном закреплении грунта закрывают затвор, исключая гидроэлеватор из работы.
В процессе бурения с гидроразмывом для обеспечения устойчивости скважины необходимо поддерживать уровень воды в ее устье. Для этого, по схеме с откачкой пульпы, требуется лишь соответствующий баланс расходов (расход воды, поступающей в скважину, должен быть не менее расхода, удаляемого из скважины, то есть расход, подаваемый на гидроразмыв, должен выть не менее суммы расходов фильтрационной утечки и откачиваемой гидроэлеватором пульпы), либо долив воды в скважину.
Как показывают расчеты, для данного варианта гидроразмыв водой требует больших расходов воды. Кроме того, здесь усложняются технология и оборудование. Основными усложняющими факторами являются удаление из скважины размытого грунта и фильтрационная утечка. Выданные ими осложнения могут быть преодолены, как и в обычном бурении, применением для гидроразмыва глинистого (бентонитового) раствора. Целесообразность использования глинистого раствора должна быть установлена технико-экономическим сопоставлением (при экономии цемента имеет место расход бентонита). При определенных конкретных условиях применение глинистого раствора может быть оправданным, тем более что возможно производить очистку глинистого раствора. Применение глинистого раствора дает возможность использовать простейшие виды технологии и оборудования.

