Лопасные долота
В составе бурового инструмента при бескерновом бурении применяется лопастное долото (рис. 7.43). Оно состоит из корпуса 4, снабженного шламозаборным конусом, в полости которого установлен породоприемный патрубок 5, соединяющийся с внутренней трубой двойной бурильной колонны.

Рис. 7.43. Долото лопастное.
К корпусу приварены две
или три лопасти 2, армированные породоразрушающими элементами.
В осевой части долота имеется полость, частично закрытая шламозаборными крыльями 1, которые обеспечивают механическое транспортирование разрушенной породы в полость шламоприемного Конуса, выше которого установлено кольцо 3, обеспечивающее эжекционный эффект при бурении.
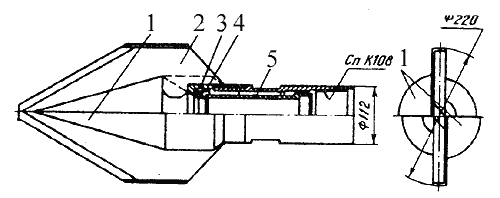
На рис. 7.44 показано лопастное долото, в котором с целью улучшения очистки забоя в осевой части установлено сопло, увеличивающее скорость восходящей струи промывочной жидкости. При бурении скважин осколки разрушенной породы захватываются потоком очистного агента и направляются в полость породоприемного патрубка.

Рис. 7.44. Долото лопастное с соплом.
1 — корпус; 2 —
переходник; 3— лопасть; 4 — сопло; 5 — трубка нагнетательная

