Буровой инструмент для установки УБСР-25-2М
При бурении скважин установкой УБСР-25-2М используется различный буровой инструмент.
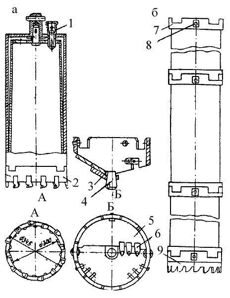
Кассетный бур БКУ (двух размеров) имеет единый корпус и сменные кассеты с колонковыми и ковшовыми наконечниками; имеются керноудерживающее устройство и обратный клапан для создания вакуума во внутренней полости корпуса, что способствует удержанию керна.
Обеспечивается взаимозаменяемость наконечников в зависимости от типа отложений (рис. 7.83).

Рис. 7.83. Буровой инструмент к установке
УСБР-25-2М.
а — кассетный бур; б — обсадная
колонна; 1— клапан шариковый; 2— коронка; 3 — днище ковша; 4 — долото
опережающее; 5 — лопасть ковша; 6 — резец; 7 —кулачковая полумуфта;
8— замок-фиксатор; 9— башмак.
Техническая характеристика кассетных буров БКУ
БКУ-1
БКУ-2
Диаметр, мм:
наружный/внутренний
340/300
565/540
Высота в сборе, мм
1830
Масса, кг
70
100

