
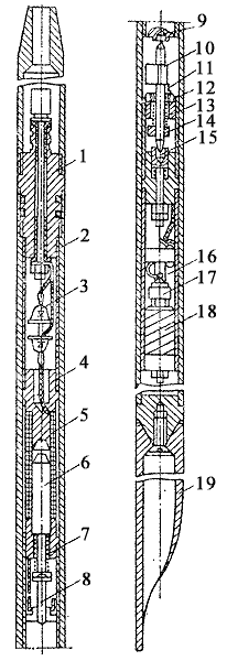
1 - кабельный ввод; 2 - защитная гильза; 3 - коммутационный блок; 4 - корпус; 5 -электромагнит; 6 - подвижный сердечник; 7 - пружина; 8 - штоки, 9, 15 - агатовые подпятники; 10 - груз контактный; 11 - щетки; 12 - диэлектрическое кольцо с переменным сопротивлением; 13 - измерительный узел; 14 - эксцентричный грузик; 16 - узел вибратора; 17 - наковальня; 18 - втяжной электромагнит; 19 - фиксатор-ловитель.

