Комплекс КГК-100
Комплекс КГК-100 предназначен для бурения скважин в мягких отложениях II - IV категорий по буримости с прослоями пород V - VII категорий при поисково-съемочных работах, геологическом картировании и разведке месторождений твердых полезных ископаемых.

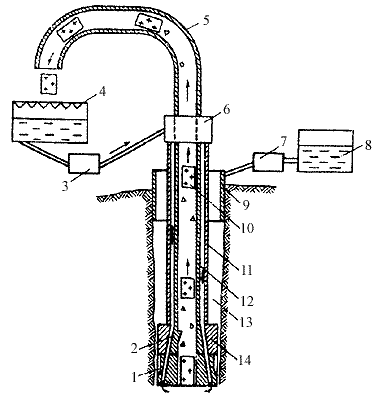
Рис. 8.7. Схема бурения с гидротраспортом керна на поверхность комплексом КГК-100.1 - породоразрушающий инструмент; 2 - кернолом; 3 - насос для легкого раствора; 4 - вибросито; 5 - гибкий шланг; 6 - сальник-вертлюг; 7 - насос для тяжелой жидкости; 8 -емкость для тяжелого раствора; 9 - герметизатор; 10 - керн; 11 - наружная труба; 12 - внутренняя труба; 13 -скважина; 14 - специальный переходник.

