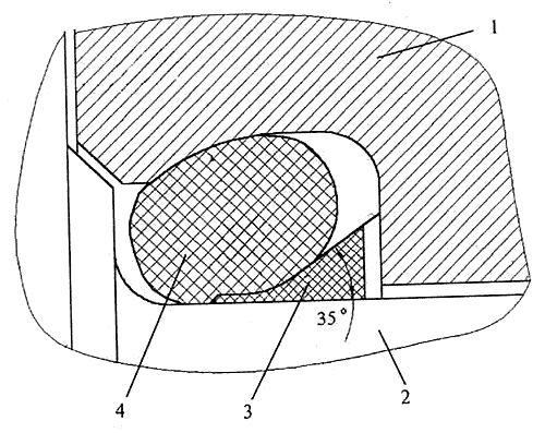
Комбинированное радиальное уплотнение
Из отечественных разработок необходимо отметить комбинирование уплотнение по патенту РФ №2096578 (рис. 3.29).

Рис. 3.29. Комбинированное радиальное уплотнение
Уплотнение состоит из фторопластового кольца 3 с внешней конической
поверхностью и резинового силового кольца 4, прижимающего фторопластовое кольцо
в радиальном направлении к поверхности цапфы 2 и в осевом направлении — к торцу
расточки шарошки. При этом небольшой участок резинового кольца контактирует
непосредственно с цапфой и предотвращает доступ промывочной жидкости к паре
трения «цапфа - фторопластовое кольцо». Особенностью данного уплотнения является
то, что при износе фторопластового кольца резиновое кольцо полностью вступает в
контакт с цапфой лапы и продолжает работать как в классическом радиальном
уплотнении, что повышает долговечность узла и опоры в
целом.

