animateMainmenucolor

Устройство шарошечных долот



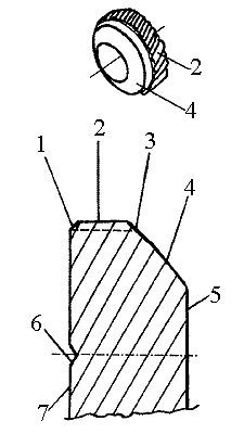
Подпятник

1. Фаска упорной поверхности 
2. Спиральная накатка 
3. Фаска посадочной поверхности   
4. Посадочная поверхность
5. Торец подпятника 
6. След от сверла 
7. Упорная поверхность 


термины:
А Б В Г Д Е Ё Ж З И К Л М Н О П Р С Т У Ф Х Ц Ч Ш Щ Э Я






Буровые установки (агрегаты, станки) шпиндельного типа

Глубина бурения, м
100 м
300 м
500 м
800 м
2000 м

Буровые установки с подвижным вращателем

Глубина бурения, м
до 15 м.
до 25-50 м.
до 100 м.
до 300 м.
до500 м.
до1000 м.
до2000 м.

Буровые установки роторного типа для бурения скважин

Глубина бурения, м
до 25-50 м.
до 200 м.
600-800 м.
Глубина бурения 2000-3000 м.

Самоходные буровые установки для бурения скважин

Установка самоходная подъемная Азинмаш-37А1
Установка для устройства буронабивных свай СО-2
Агрегат для заглубления винтовых анкеров АЗА-3
Cамоходный буровой агрегат БА 15.06, 1БА15н.01, 1БА 15к.01
УРБ-3А3.13 самоходные и передвижные буровые установки
БА-63АВ Буровой агрегат на шасси КАМАЗ
БТС-150 станок буровой тракторный
Установка бурильно-крановая гидрофицированная типа УБКГ-ТА

Буровые установки и оборудование для глубокого бурения

Глубина бурения, м
Глубина бурениядо 3200м
Глубина бурения до 4000 м
Глубина бурения до 5000м
Глубина бурения 6000- 8000 м