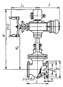
Клиновые стальные фланцевые задвижки с выдвижным шпинделем с электроприводом на ру = 2,5 МПа
Стальные клиновые фланцевые задвижки с выдвижным шпинделем с электроприводом 30с997нж предназначаются для трубопроводов, транспортирующих воду, пар, масло или нефть при температуре до 300° С. Задвижки присоединяются к трубопроводу при помощи фланцев, размеры которых предусмотрены ГОСТ 12821—67. Управление задвижками при помощи электропривода. Предусмотрена возможность ручного управления маховиком с использованием червячного редуктора электропривода.
Задвижки устанавливаются на горизонтальном трубопроводе вертикально, электроприводом вверх. Может быть допущена установка задвижки с горизонтальным расположением шпинделя при условии смазывания червячной пары и роликоподшипников густой смазкой и при наличии опоры под электропривод. Корпус, крышка и упругий клин изготовляются из стали, прокладка — из паронита, в качестве набивки сальника используется пропитанный асбест.
Уплотнение запорного органа обеспечивается уплотнительными кольцами в корпусе и на клине, наплавленными коррозионностойкой сталью. В нижней части шпинделя предусмотрен кольцевой бурт, который при поднятом вверх до отказа шпинделе упирается в крышку, перекрывая доступ среды в коробку сальника при полностью открытой задвижке. Задвижки испытываются на прочность при пробном давлении рпр = 3,8 МПа. При рабочей температуре среды tp = 300° С допускается рабочее давление рр = 2,0 МПа.
При испытаниях на герметичность задвижки должны удовлетворять требованиям 2-го класса герметичности по ГОСТ 9544—75.


